الرئيسية
سياسة
أمن
الشارع العراقي
عربي ودولي
اخبار اقتصادية
أخبار رياضية
منوعات
مقالات
كاريكاتير
فيديو
منظمات مجتمع مدني
ألبوم الصور
استطلاعات
الأبراج
تواصل معنا
×
×
أخر الأخبار
من العراق إلى إيران.. العتبة العباسية تواسي الجرحى وتدعم عوائل الشهداء
نداء المرجعية يتحوّل إلى فعل.. 690 طن مساعدات عراقية تعبر نحو إيران ولبنان
العتبة العباسية المقدسة: إرسال قافلة المساعدات الأولى لدعم الشعب الإيراني
السامرائي يؤدي صلاة الجمعة في جامع النوري بمدينة الموصل
القبانجي يدعو الشباب لـلتطوع وإعلان الجاهزية لنصرة الاسلام وتلبية النداء
"سدة الصدور" في ديالى تستعيد رونقها السياحي لأول مرة منذ 23 عاماً
الأطفال يشاركون في مبادرة العتبة العباسية المقدسة لدعم الشعبين الإيراني واللبناني
رئيس الجمهورية يؤكد ضرورة التعاون وتعزيز العلاقة بين بغداد وأربيل
السوداني يتصل بالمنتخب الوطني: بانتظار عودتكم لتكريمكم بمكافأة مميزة
لأول مرة منذ خمس سنوات.. بدء إنتاج الكهرباء من سد حمرين بديالى
وفاة الفنانة كريمة مختار عن عمر يناهز 82 عاما
13-01-2017, 04:51
"مسدس آيفون".. رعب جديد في أوروبا
12-01-2017, 05:15
كيف تختارين البلسم الملائم لنوعيّة شعركِ؟
12-01-2017, 05:04
"la la land" ينال جائزة "نيويورك" لأفضل فيلم
12-01-2017, 04:53
أولى مغامرات "تان تان".. بالألوان
11-01-2017, 03:05
"نوكيا 6" أول هواتف نوكيا بنظام أندرويد
11-01-2017, 03:00
أطعمة تساعدك في التخلص من مشاكل الغدة الدرقية
11-01-2017, 02:55
سلاف في مصر لتصوير "هجرة الصعايدة"
10-01-2017, 07:40
زيت شجرة الشاي علاج ممتاز لحب الشباب بمنطقة الظهر
10-01-2017, 07:35
سلاح برمائي جديد للضفادع البشرية الروسية
10-01-2017, 07:20
الساهر يرد على الإشاعات ويؤكد مسيرتنا انسانية
9-01-2017, 04:58
كيف تحصل على إنترنت مجاني عن طريق فيسبوك؟
9-01-2017, 04:22
نصائح من أربع نجمات لشعر سريع النموّ
9-01-2017, 04:15
"مشروع فاليري" حاسوب محمول بثلاث شاشات
8-01-2017, 05:43
قاسم حداد يفوز بجائزة الشابي للإبداع
8-01-2017, 04:03
حقن الميزوثيرابي لعلاج الصلع والثعلبة وضعف الشعر
8-01-2017, 03:54
رجيم لانتفاخ البطن
7-01-2017, 03:20
الفنان الهندي المُخضرم أوم بوري يودع الحياة
7-01-2017, 03:12
هل تملك سيارة فورد؟ قد لا تحتاج مفتاحاً بعد اليوم
7-01-2017, 02:31
لأجل بشرتك: فيتامين A في هذه الخضراوات
6-01-2017, 06:52
ناسا تحذر من كويكب ضخم يهدد الأرض
6-01-2017, 06:27
فان دام مع ابنه في "بلاك ووتر"
6-01-2017, 01:35
ناسا: كويكب ضخم "يهدد" الأرض
5-01-2017, 18:28
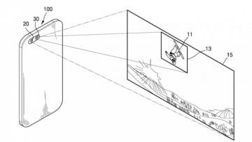
سامسونج تسجل براءة إختراع جديدة لكاميرا خلفية مزدوجة
5-01-2017, 06:51
مظاهر تدل على وجود جلطة فاحذريها
5-01-2017, 06:16
القصبي في "سيلفي" جديد
5-01-2017, 06:03
كيفيّة العناية بالشعر بعد علاجه بـ "البروتين"
4-01-2017, 07:04
روسي يشحن هاتفه الذكي بحركة اليد
4-01-2017, 06:56
القانون يمنع العراق من المشاركة في معرض القاهرة الدولي للكتاب
4-01-2017, 05:59
ملايين المستخدمين سيحرمون قريبا من “واتس آب”
3-01-2017, 04:38
1
...
52
53
54
55
56
57
58
59
60
...
366